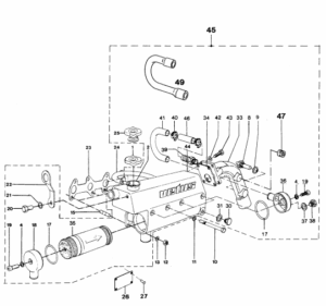
Cooling
Kølesystem – Reservedele til Vetus bådmotorer
Hold din bådmotor driftsikker og korrekt tempereret med originale dele til kølesystemet. Hos Maritimtudstyr.dk tilbyder vi et stort udvalg af kølekomponenter, der passer til Vetus M4.14 – herunder både ferskvandskøling og køling med søvand eller køl.
Vi fører blandt andet:
Cirkulationspumper og søvandspumper
Varmevekslere og termostathuse
Køleslanger, kølekølemanifolde og dæksler
Kølerør, forbindelser og køletanke
Med adgang til detaljerede reservedelstegninger og splittegninger gør vi det nemt for dig at finde de rette dele – uanset om du bruger mekanisk eller hydraulisk gearkøling. Alle dele er af høj kvalitet og skabt til at sikre optimal motortemperatur under alle forhold.
✔ Originale reservedele – ✔ Splittegninger til nem identifikation – ✔ Hurtig levering
👉 Køb reservedele til dit kølesystem online hos Maritimtudstyr.dk – din specialist i bådudstyr og motorkomponenter.
